The Future

Self-cleaning cars are a pipe dream

Uber's new patent for a robot arm to clean your car is pretty dumb.

The Future

Self-cleaning cars are a pipe dream

Uber's new patent for a robot arm to clean your car is pretty dumb.
The Future

Self-cleaning cars are a pipe dream

Uber's new patent for a robot arm to clean your car is pretty dumb.

If you’ve ever watched someone clean the inside of your car, it’s hard work. There are a zillion little crevices into which crumbs and ketchup packets can fall. Strange stains accumulate everywhere. The floor mats become covered with whatever your shoes have been carrying. Who knows what the sticky stuff is that cakes the bottom of your cupholders.

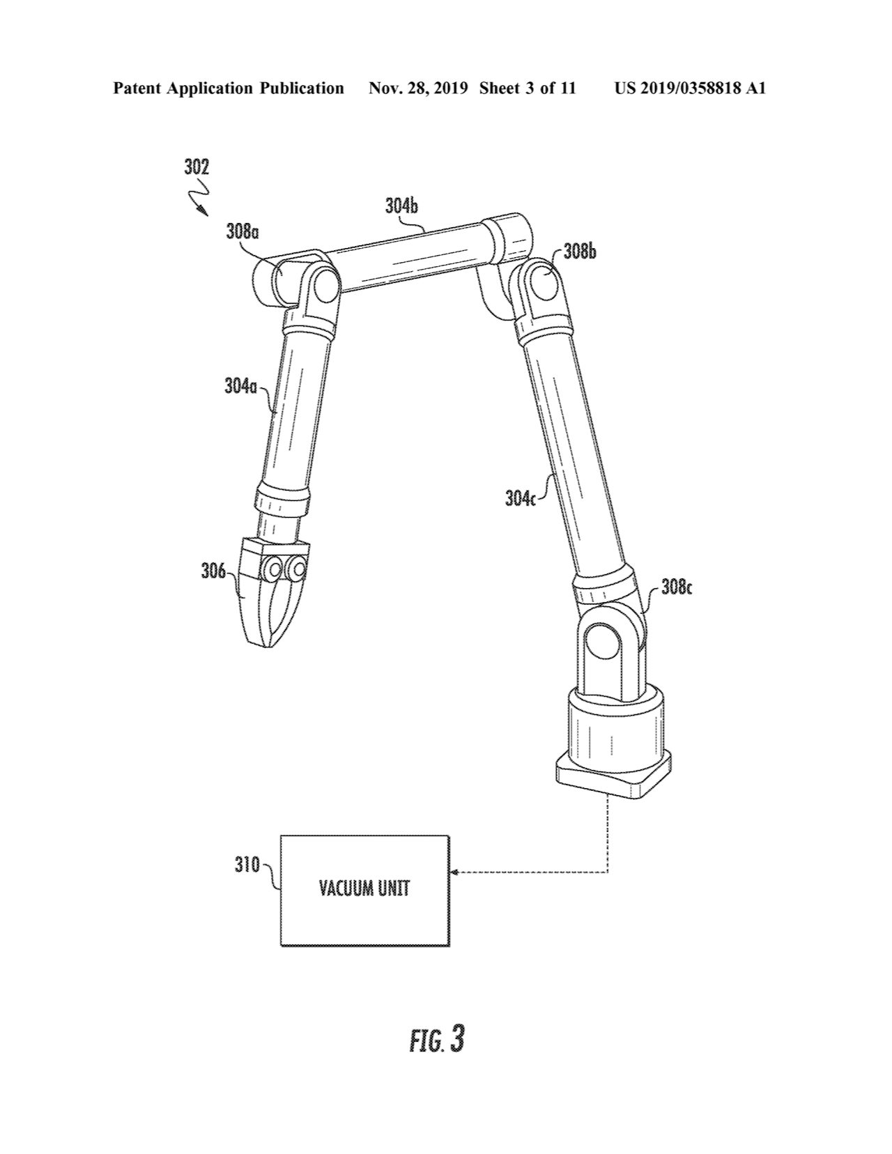
Well, Uber may be attempting to disrupt cleaning the inside of your car. The company last month filed a patent for “autonomous cleaning systems for autonomous vehicles,” news first reported by Business Insider. The system, as described in the text and accompanying images, appears to be a giant robotic vacuum arm that swivels from a console between the driver and passenger seats. Using a camera, the vacuum arm would identify “if an interior area or surface of the vehicle deviates from a cleanliness standard based at least in part on the sensor data.”

Patent filings from tech companies are often outlandish, mostly serving as a way for Silicon Valley to plant flags on far-off technological developments (Google has a fun catalog of strange patents). And given that self-driving Ubers require a “safety driver” hover-handing the steering wheel to operate (and that they can still cause horrible accidents),an actual “autonomous driving system” for everyday use is likely far from a reality, in spite of what Elon Musk promises.

For Uber, the logic of a self-cleaning car is fairly straightforward. Uber’s business is contingent on keeping the cost of its rides as low as possible, and if you’ve already taken the driver out of the car (as Uber hopes to with its self-driving vehicles, despite the shambolic  state of its autonomous driving program), then automating the mess left behind by a customer seems like a logical, if improbable, next step. The company cautioned me in a statement, however, saying that Uber “files many patents on the self-driving side of our business,” but that “the specifics of a patent should not be interpreted or communicated as a new methodology that we intend to implement.”

To get a sense of how a “self-cleaning” car system might actually affect car washes, I spoke with Meagan Kusek, a senior editor at the industry publication Professional Carwashing & Detailing. Kusek told me that while a robotic arm might be useful for quick fixes such as hoovering up a stray Snickers wrapper, it “couldn't ever replace when you need [a car] deep-cleaned.” According to a survey conducted last year, about half of all U.S. car washes offer some type of “full-service” clean that includes interior work (the prices of which generally start at between $20 and $30), and Kusek told me that it’s this chunk of the market that would be most touched by a “self-cleaning car.”

“As far as this robotic arm goes, the biggest thing I can see that it would affect is the full-service side of the industry,” Kusek said. “If there's an arm that could do the vacuuming, the workers wouldn't need to do it — but this is all contingent on the arm’s doing a good job of vacuuming.”

The robotic vacuum from Uber's patent filing.

The robotic vacuum from Uber's patent filing.

Though much of the car wash business is already automated by the conveyor belts that that ferry your car through those fun soapy noodles, cleaning the interior of a car still requires manual labor. And that labor is badly paid: New York legislators passed a bill earlier this year to make car washers qualify for a $15 minimum wage, as they have[historically been counted as tipped workers.

I visited a car wash in Verona, New Jersey, and spoke with a detailer and cleaner named Soane to see what people who actually clean cars made of the robot arm. Soane’s been working at car washes for about 15 years and he routinely cleans the insides of cars.

When I showed him what Uber’s proposed design for the robotic arm looked like, he laughed out loud. As for whether such a tool might work, he smiled and shrugged. “I dunno,” he said. Me either.

Noah Kulwin is the Future Editor of The Outline.